
流化技术起源于1921年。流化床干燥器又称沸腾床干燥器,流化干燥是指干燥介质使固体颗粒在流化状态下进行干燥的过程。自流态化技术发明以来,干燥是应用^早的领域之一。流化技术^早应用于干燥工业规模是于1948年在美国建立多尔一奥列弗固体流化装置,该流化床直径是1.73m,床层温度74℃,每小时处理能力50吨白云石颗粒。将粉尘杨析以得到较粗制品。流化床干燥在我国是从1958年以后开始发展起来的一门较新技术,首先是在食盐工业上应用。目前已广泛应用于化肥、颜料、聚乙烯,对苯二甲酸二酯、药物原料、塑料等方面。
一、流化干燥之所以得到广泛的发展,主要有以下几个优点
(1)由于物料和干燥介质接触面积大,同时物料在床内不断地进行激烈搅动,所以传热效果良好,热容量系数大,可达(2.3-7.0)×kW/m3·K;
(2)由于流化床内温度分布均匀,从而避免了产品的任何局部的过热,所以特别适用于某些热敏物料干燥;
(3)在同一设备内可以进行连续操作,也可进行间歇操作;
(4)物料在干燥器内的停留时间,可以按需要进行调整,所以产品含水率稳定;
(5)干燥装置本身不包括机械运动部件,从而设备的投资费用低廉,维修工作量较小。
其主要缺点
(1)被干燥物料颗粒度有一定的,一般要求不小于30um,不大于4mm为合适。当几种物料混在一起干燥时,各种物料重度应当接近;
(2)由于流化干燥器的物料返混比较激烈,所以在单级连续式流化干燥装置中,物料停留时间不均匀,有可能发生未经干燥的物料随产品一起排出床层。
二、流化床干燥器的分类及应用
随着应用技术的不断发展,流化床干燥器的型式及应用也越来越多,设备的分类方法也有所不同。按被干燥物料可分为三类:^类是粒状物料;第二类是膏状物料;第三类是悬浮液和溶液等具有流动性的物料。按操作条件,基本上可分两类:连续式和间歇式。按结构状态来分类有一般流化型、搅拌流化型、振动流化型、脉冲流化型、碰撞流化型(惰性粒子做载体)。随着对流化床干燥设备不断的改进、扩大,目前已成为干燥设备的主要机型之一。
多年来,流化床干燥器在工业上有许多应用,下面是各种干燥器干燥的物料。
(1)单层圆筒形流化床
已用于硫酸铵、氯化铵、无水亚硫酸钠、食盐、聚四氟乙烯、葡萄糖酸钙、碱性青莲染料、催化剂颗粒等物料的干燥。
(2)多层圆筒形流化床干燥器
已用于涤纶切片、水杨酸钠、氨基匹林、土霉素、金霉素、四环素、片剂淀粉颗粒、糖粉等物料的干燥。
(3)卧式多室流化床干燥器
已用于聚氯乙烯树脂、聚丙烯树脂、尼龙1010、邻氯苯甲酸、四环素、土霉素、氯霉素、合霉素、肝粉、糖粉、S.M.P、A.P.C等物料的干燥。
(4)带有搅拌器流化床
已用于硫酸铵、硫酸铜、氟化钠、氨基酸、酐酪素、聚丙烯树脂、酚醛树脂等物料的干燥。
(5)惰性粒子流化床
已用于钦白粉、农药代森锌、颜料、染料、硅藻土、腐植酸钠、腐植酸等物料的干燥。
(6)振动流化床
已用于糖、石棉矿、奶粉等物料的干燥。
(7)喷雾流化造粒干燥
已用于尿素、葡萄糖、溴化钠、溴化钾、溴化铵、钛白粉、丙二酸钠、荧光增白剂、醋酸钾、氯化钙、硝酸铵等物料的干燥。
三、流化床干燥装置简述
流化床干燥器是近年来发展的一种新型高效干燥器。目前在化工、轻工、医药、食品等工业中已广泛应用,而且已逐步推广到造粒、煅烧、冷却等方面。干燥时由于气固两相逆流接触,剧烈搅动。固体颗粒悬浮于干燥介质之中,具有很大的接触表面积,无论在传热、传质、容积干燥强度、热效率等方面都很优良。传动机构不接触物料,不会因设备磨损而混入杂质,这对于要求纯度较高的医药等工业尤为重要。由于适应不同物料要求及对成品的不同要求,也就出现了下列几种不同型式的流化干燥。大体可分为下列几种类型:单层圆筒流化床干燥器、多层圆筒流化床干燥器、卧式多室流化干燥器、喷雾流化干燥器、惰性粒子流化干燥器,喷动床干燥器、流化锻烧器。现根据其类型,分述如下。
流化床气体分布板的型式,有筛板、筛网以及烧结密孔板等,国内各厂多采用筛板式气体分布板。也有一些工厂,在流化床气体分布板上再铺一层绢丝或300目以上的不锈钢网,这样可以保证物料颗粒不漏下去,筛孔板开孔在1.5%-30%之间。
散粒状的固体物料,由螺旋加料器加入流化床干燥器中。空气由鼓风机送人燃烧室,加热后送入流化床底部经分布板与固体物料接触,形成流态化,达到气固相的热质交换,物料干燥后由排料口排出。尾气由流化床顶部排出,经旋风分离器组回收。被带出的产品,再经洗涤器和雾沫分离器后排空。
流化床干燥器具有以下特点,它适用于无凝集作用的散粒状物料的干燥,颗粒直径可从30um-6mm,设备结构简单;生产能力大,从每小时几十公斤至几百吨;热效率高,对于除去物料中的非结合水分,热效率可达到70%左右,对于除去物料中的结合水分时,热效率约为30%-50%;容积传热系数可达到2000-6000·h·℃;物料在流化床中的停留时间与流化床的结构有关,如设计合理,物料在流化床中停留时间可以任意延长。其缺点是热空气通过分布板和物料层的阻力较大,一般约为500-1500pa。鼓风机的能量消耗大。对单层流化床干燥器,物料在流化床中处于完全混合状态。部分物料从加料口到出料口,可能走短路而直接被吹向出口,造成物料干燥不均匀。为改善物料在流化床中干燥的均匀性,一般多采用各种不同结构的流化床。如具有控制物料短路的挡板结构的单层流化床、卧式多室流化床、多层流化床等。
四、各类流化床干燥装置简述
1)单层圆筒流化床干燥器
单层圆筒型流化床干燥器:湿物料由皮带输送机运送到抛料加料机上,然后均匀地抛人流化床内,与热空气充分接触而被干燥,干燥后的物料由溢流口连续溢出。空气经鼓风机、加热器后进人筛板底部,并向上穿过筛板,使床层内湿物料流化起来形成流化层。尾气进入四个旋风分离器并联组成的旋风分离器组,将所夹带的细粉除下,然后由排气机排到大气。在该流程中,主要设备为单层圆筒形流化床。设备材料为普通碳钢内涂环氧酚醛防腐层,气体分布板是多孔筛板,板上钻有φ1.5mm的小孔,正六角形排列,开孔率为7.2%。流化床干燥器操作简单,劳动强度低,劳动条件好,检修方便,运转周期长。由于床层温度平稳,干燥效果亦好。
单层流化床也用于含水率较多的物料。如葡萄糖酸钙含水率为35%,但为间歇出料,卸料时分布板翻转90°,于床层下部将料卸出。其他还有带搅拌装置的圆筒型单层流化干燥器,如酐酪素的干燥,由于酐酪素晶粒形状大小不一,在流化过程中往往产生较为严重的沟流现象,物料局部堆积影响料层稳定操作。这些装置,是在单层流化床的基础上的改革,其流程相同,故不再作详细介绍。
2)多层圆筒型流化床干燥器
多层圆筒型流化床干燥器由于停留时间分布均匀,故实际需要停留时间远较单层流化床短。在相同条件下,设备体积可相应缩小。产品的干燥程度均匀,易于控制产品的干燥质量。多层床因分布板增加,故床层阻力也相应增加。但当物料为降速干燥阶段时,与单层床相比,由于停留时间的大大减少,床层阻力相应减少。并且多层床热效率较高,故适用于降速干燥阶段较长的物料以及湿含量较高(一般在14%以上)物料的干燥。例如采用五层流化干燥器干燥要求含水较低的涤纶树脂(干燥后成品含水仅0.03%)。采用双层流化床干燥含水率在15%-30%的各种药物片剂,如氨基匹林等。多层床操作的^大困难是物料与热空气逆流接触,各层上要形成稳定的流化层,又要使物料定量地移至下一层,这就需要考虑溢流装置的结构问题。
3)卧式多室流化干燥器
由于多层流化床干燥器制造较为复杂,操作控制不容易掌握,故近年来有将其改为多室流化床的趋势,即改为低风速的卧式多室流化床千燥器。该设备高度可降低、结构简单、操作亦较为方便,并用在SMP等片剂的干燥上。由于使用效果较好,很快就在制药工业中得到推广。目前国内有几十个工厂用此设备来干燥各种片剂颗粒药物、粉粒状物料(如聚氯乙烯、乌洛托品)以及片状物料(如尼龙1010)等。卧式流化床干燥停留时间可任意调节,压力损失小,并可得到干燥均匀的产品。它的主要缺点是采用较高风温时热效率低于多层床,。但如果能够调节各室的进风温度及风量,并逐室降低,或采用热空气串联通过各室的办法,热效率也可以提高。目前大多数卧式流化床采用负压操作。
卧式流化床干燥机可能是^早的改进,并在60年代就已较广泛地应用。它使物料从一端加人,另一端卸出,相当于多个方形截面流化床串联系统(对物料而言,气体则多半是并联)。其主要特点是改善了物料停留时间分布,从而可制得均匀干燥产品。为此目的,有的还在相邻室间安装挡板。另一优点是很容易使物料的冷却和干燥结合在同一设备中进行,即在尾部增设一冷却室,出料直接包装,简化流程和设备。这类干燥机目前在工业上应用还相当普遍,成功应用的例子有农药草甘膦、柠檬酸、草酸、氯化橡胶、以及PVC、PE、PP树脂等。卧式多室流化床干燥器由于分隔成多室,可以调节各室的空气量,同时,流化床内增加了挡板,可避免物料走短路排出,干燥产品的含水率也较均匀。若在操作上对各室的风量、气温加以调节,或将^末几室的热空气二次利用,或在床内添加内加热器等,还可提高热效率。
4)喷雾流化干燥器

喷雾流化干燥器是利用雾化器将溶液雾化,喷入颗粒剧烈运动的流化床内,借助溶液本身的显热,结晶热及流化介质的热量,使水分蒸发、结晶、干燥并在一步内完成。溶液在雾化过程中未碰到床中原有颗粒前,已部份蒸发结晶,形成新的品种。而在雾化过程尚未蒸发的溶液,便与床中原有结晶接触而涂布于其表面,使颗粒长大,并一步得到干燥,即形成粒状产品,这是喷雾流化干燥器用于造粒方面的原理,喷雾流化干燥器适用于可喷雾的溶液或稀浆状的物料。
喷雾流化床造粒产品的平均粒径为0.3-3.0mm,大者可达8-20mm。可通过调节操作参数来控制粒径的大小。如尿素的喷雾流化床造粒法制取的产品,其粒径可达8-25mm。在中、小型喷雾流化床造粒器内,有时在筛板上部设置搅拌装置,强制混合,防止死床,此设备可间歇操作也可连续操作。
5)惰性粒子干燥器
惰性粒子流化干燥器具有将物料蒸发、结晶、干燥、粉碎在同一设备中完成的特点。采用直径为1-2mm的玻璃球,已成功用于涂料二氧化钛。为了解决含水率60%膏状物料农药代森锌的干燥,用砂子作为惰性粒子,均达到预期目的。为流化干燥器的应用开辟了一条新的途径。

空气加热到300℃,然后进人圆柱型流化床内,使预先装入的φ1-2mm的玻璃球流化。然后将料浆由齿轮泵由拌浆槽打出,借气流式喷嘴喷入玻璃珠流化床内,物料在玻璃珠相互球磨作用下,迅速使产品粉碎及干燥,达到320目细度。干燥后的产品随气流从流化床顶逸出,经二级高效旋风分离器分离后,再经文丘里管湿法除尘,^后经旋风分离器使气液分离,尾气排入大气。
6)离心流化床干燥器
离心流化床干燥器,也是流化床干燥的重大改进之一。但在国内目前尚未见到有定型设备。其原理是在机械转动造成的离心力场作用下使粒状物料分布在丝网复盖的圆筒形多孔壁上,热气流穿过多孔壁使之流化干燥。它适用于处理大颗粒、小密度物料,如方便米饭等这一类物料,因起流速度与吹出速度非常接近,在重力场流化床中无法操作。
7)振动流化床干燥器

缺点:
① 气泡现象使流化不均匀,相间接触效率不高,而且工程放大较困难;
② 物料停留时间分布极不均匀,难以获得湿含量均一的产品,甚至可能有部分产品因过度干燥而变质;
③ 动力和热能消耗大;
④ 只能处理松散的粉状或粒状物料。为解决这些问题,在流态化基本构思的基础上进行了一系列改进和发展。
流态化干燥^重大的改进和革新,当推振动流化床的开发和应用。目前应用^广的卧式振动流化床干燥器,形状和基本结构与普通卧式流化床干燥器很相似。区别在于前者整个机体通过弹簧支撑在底座上,多孔板稍向出料端倾斜,机体一侧或两侧装有振动电机。物料依靠机械振动和穿孔气流双重作用流化,并在振动作用下向前运动。
它具有非常突出的优点:
① 在很低的气速下可获得均匀的流化,从而大大降低了能耗、颗粒间的磨损和粉尘夹带;
② 物料停留时间分布均匀,几乎可以认为是“活塞式流动”,且停留时间易于调节控制,因此可获得干燥非常均匀的颗粒状产品。
振动流化床干燥器是一种强化的有特殊用途的干燥装置,它通常供物料^终干燥之用。由于在干燥过程中由机械振动帮助物料流化,不仅有利于边界层湍流,强化传热传质,而且还确保了干燥设备在相当稳定流体力学条件下工作。这种设备除具有很好干燥功能之外,还能根据工艺需要完成物料造粒、冷却、喷入少量液体、筛分和输送等工序。目前已在制糖、医药、化肥、化工、塑料、乳品、盐业和矿冶等工业部门得到广泛应用,这项技术基本成熟并已形成了系列化。
8)内换热的流化床干燥器
在流化床内设置换热器,向其内通入蒸汽或其他热介质,间接供给床层所必需的热量,而热空气的主要作用是使床层流态化,这可达到明显节能目的。内换热管可以旋转,既起换热又起搅拌作用。内换热器一般是不动的,它不仅向床层供给热量,而且还起内部构件的作用。当床层需要热量很大而使床层流态化的风量又需很小时,采用内换热器的方案是^佳的选择。
9)搅拌流化床

在普通流化床底部设置搅拌器,是流态化干燥的另一类改进。它扩大了流态化干燥适用的物料范围,使之可用于进料或在干燥脱水过程中可能结块的粉状或粒状物料,而这是很常见的一类物料。例如大多数离心机分离出来的物料都有部分结团,含结晶水的物料则在干燥过程中很容易结块。这一改进带来的另一好处是可获得均匀的流化,提高了热质传递强度。
10)单圆筒流化干燥器
单层流化床可分为连续、间歇两种操作方法。连续操作停留时间分布较广,实际需要的平均停留时间较长,因而多应用于比较容易干燥的产品,或干燥程度要求不是很严格的产品。国内于1969年设计建造了一台直径为3000mm的大型流化床干燥装置,用以干燥氯化铵,单层流化床也可用于含水率较高的物料的干燥,对含水率为35%的葡萄糖酸钙的干燥就是一例。操作是间歇式的,卸料时分布板翻转900,物料于床层下部卸出。用间歇操作的单层流化床干燥器也成功用于含水率为20%的催化剂的干燥,其出料是用高速气流将物料吹入旋风分离器后卸出。对于一些颗粒度不均匀并有一定粘性的物料,多采用在床层内装有搅拌器的低床层操作。酐酪素的干燥以及椰蓉的干燥,就是用该法进行的。

单层圆筒型流化干燥器,一般是用于较易干燥产品或干燥程度不严格的产品。由于流化床内粒子接近于完全混合状态,为了要减少未干燥粒子的排出,就必须延长平均停留时间,于是流化床高度必有所提高,而压力损失也随着增大。由于这一特性,就必须使用温度尽可能高的热空气藉以提高热效率,而适当减低床层高度。故单层圆筒型流化床干燥器只适宜于干燥含表面水及对干燥程度不严格的物料。
11)多层振动流化床干燥器
采用多层流化床干燥器,可以增加物料的干燥时间,改善干燥产品含水的均匀性,从而易于控制产品的干燥质量。但是,多层流化床于燥器因层数增加,分布板相应增多,床层阻力增加。同时,各层之间,物料要定量地从上层转移至下层,又要保证形成稳定的流化状态,必须采用溢流装置等,这样又增加了设备结构的复杂性。对于除去结合水分的物料,采用多层流化床是恰当的。例如采用双层流化床干燥含水率15%-30%的氨基匹林;采用五层流化床干燥涤纶树脂,使产品含水率达到0.03%左右,这些都是成功的范例。

① 多层振动流化床干燥器的工作原理
由安装于主机下部的两个振动电机同步反向回转,使安装于其上的多层环状孔板组成的主机产生垂直振动与扭振,从而使由进料口进入的物料沿水平环状孔板自上层向下层连续跳跃运动。热空气则自下层向上层通过各层孔板穿过物料层,达到物料均匀干燥目的。
② 多层振动流化床干燥器的应用范围
适用于食品、化工、医药、饲料、饵料、塑料、制盐、粮食、种子、烟、糖、冶金等行业粉粒状物料的干燥、冷却。
12)圆型干燥机

过去的振动干燥机一般只是利用热空气压型的,或采用一维振动型的。圆型干燥机的特点是在 三维振动的单层或多层振动流动槽中,一边使被干燥物连续移动,一边以均匀的风压将热空气送人 每个振动流动槽;或者将热空气以连续通过各振动流动槽的方式送进去,因此干燥作业非常简便。
圆型干燥机是利用三维振动的带有圆型振动流动槽(以下简称流动槽)的干燥机,其主要特性如下:
1)可以任意改变流动槽被干燥物的移动速度,以适应干燥速率要求。
2)可以任意控制干燥作业的热空气(也有使用冷风的)风量或风压。
3)连续干燥作业,所采用的结构可以是单层的也可以是多层的,组合简便。
① 圆满干燥机的工作原理:
首先说明被干燥物的移动方法。被干燥物从连接在产生三维振动的振动机的流动槽的供给口投入,在流动槽的沟槽内绕一周,经过排出口的连接口进入下一个流动槽。以后以同样的方式经过流动槽,从排出口排出,至此已变成干燥物。利用鼓风机将热空气从进风口吹入口入,通过多孔底部与被干燥物接触。干燥作业结束后,热空气从排气口排出。设计中主要着眼于从底部将均匀的风送给各流动槽内的被干燥物,这样可以缩短干燥时间。另外根据干燥条件调节鼓风机的排气阀,就可以控制各流动槽的风量及风压。
② 结构特点:
流动槽分为被干燥物的通道区和热空气的通道区。被干燥物的通道区(以下简称沟槽)带有多孔式的底部做成同心圆状的沟形槽。底部采用多孔板、筛网及布等,使热空气能均匀地流动,另外底部还可以更换。热空气通道区是为了将均匀压力的热空气送人流动槽的底部而设计的,构成了槽的一部分。
上述流动槽与产生三维振动的振动机电相接,若改变振动机的衡重,就可以改变电机的频率,因而可以任意改变被干燥物的振幅,流向及移动速度,使操作与干燥条件相适应。
过去的流动干燥机虽然是多层的,但设计困难。本机是多层式连续干燥,而且是组合成的。组合的方法是在振动电机上设置热空气调整槽,根据单层或多层的不同情况重叠设置流动槽,^后装上上盖后,用传送带固定。排出口与连接口的连接由传送带连接。振动槽的层高受振动电机的振动传导能力的限制。
13)载体喷雾流化干燥器
载体喷雾流化床干燥器也称媒体喷雾流化干燥器、惰性粒子流化床干燥机。载体流化床干燥机我国在上世纪80年代就有成功实现工业化的报道,当时用于氧化铁黄的干燥上。该机根据喷雾技术、流化技术的原理设计而成,可以连续干燥浆状或糊状物料。主要有空气过滤器、加热器、流化床、旋风分离器、布袋除尘器、引风机、输料泵和料槽等组成。载体流化床干燥器以圆筒形结构为主,流化床内充填着直径为数毫米的可流化惰性载体(载体材料多用球形、柱形和立方体形的玻璃、陶瓷等材料制成使用较多的为玻璃珠或瓷珠)。故称惰性载体流化床干燥器。

① 工作原理
在流化床内,空气把载体预热并使载体粒子群处于流化状态,同时由输料泵供料,经喷嘴喷洒到载体表面呈膜状附着,然后分散在流化层内。载体和热空气同时向物料进行传导传热和对流传热使之干燥。由于载体表面积很大,水分在短时间内被蒸发排出。载体表面残留的固体物料在载体之间的相互碰撞中剥落下来,随空气排出干燥器外,通过旋风分离器和布袋除尘器与气体分离。
载体喷雾流化干燥器的特点是降低了喷雾干燥器的高度,可以对浆状物料和高粘度物料(20Pa-s以上)进行干燥。
② 载体喷雾流化床干燥器可干燥物料
目前载体干燥器可以干燥下列物料:钛白粉、腐植酸、硅藻土、六氯苯、碳酸铝、高分子胶体、生物胶、氧化铁黄、锌铬黄、分散蓝染料、分散绿染料、荧光增白剂、氯化锂、碳酸钙、炭黑、铁酸盐等。惰性载体、石油催化剂、北豆根(中药)、豆腐渣、豆沙馅、陶土、硫酸钡、钛酸钡、玻璃粉、颜料、表面活性剂、聚苯乙烯脂、煤粉。
③ 载体干燥器的特点
在各种物料状态中,糊状物料的干燥比较困难,适应这种状态的干燥机也很少,而载体干燥机可以完成部分糊状物料的干燥。物料在载体上形成很薄的液膜,而且内外两面受热,故其干燥过程迅速。物料不易过热,所以部分染料及中间体可以用它干燥;对于难干燥的私性物料,由于在薄膜化条件下干燥,水分扩散将大大加快,同样能达到理想的干燥效果;设备占地面积小,排风温度可以控制很低,因此热效率高。可以取代粉碎、分级过程,缩短生产流程。同烘箱相比,脱水成本下降4倍,同喷雾干燥相比,设备投资少了许多,可用于喷雾干燥难以处理的糊状物料。
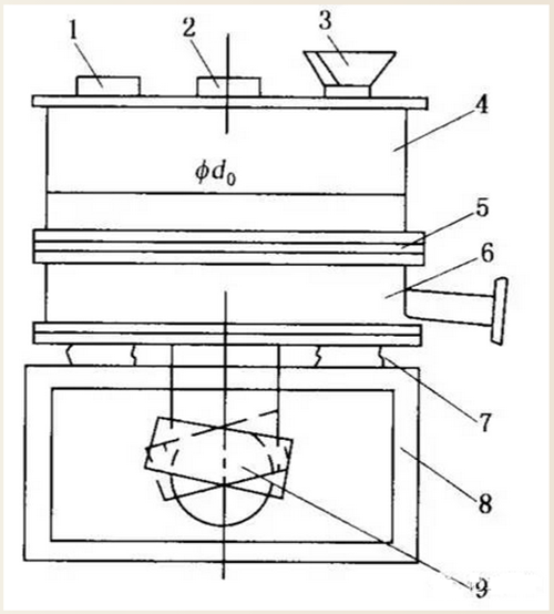
14)振动载体流化床干燥器

1排风口;2-进风口;3-加料口;4-干燥器筒体;5-热风分布孔板;6-配风室;7-振动弹簧;8-机架;9-振动电机
当物料喷洒到载体上,能否处于良好的流化状态是连续生产的关键。随着振动技术的发展,给载体干燥机增加振动源能使载体的流化状态大为改善。
① 工作原理:
两台振动电机交叉布置,同步反向运转,使振动机体作垂直振动及扭振。振动载体加在热空气分布板上,在激振力的作用下,沿水平环状热空气分布板上作圆周抛掷运动。这种运动主要由两种运动合成而成,一是振动载体沿圆周方向的扩散运动,二是振动载体在垂直方向的循环与混合运动。因此当湿物料加人床内后,在载体的作用下沿床内环状空间均匀分布和流化,同时湿物料在载体表面形成湿物料薄膜。
湿物料薄膜在热载体的内部作用下和热空气外部作用下迅速完成干燥过程,然后在载体相互之间碰撞下变干的湿物料薄膜脱落并被粉碎。达到一定粒度后,随干燥尾气带出干燥器,由系统后部的除尘设备收集。

免费热线: 400-8585-815;总机:0519-88930188
24小时咨询热线
厂区地址:常州市新北区科技大道3号
地址
邮箱